AMD tiết lộ một phương pháp độc đáo "Multi-Chiplet" cho các kiến trúc RDNA tương lai, bao gồm ba bo mạch riêng biệt
Khái niệm về MCM (Multi-Chiplet Module) không phải là mới hoàn toàn trong lĩnh vực đồ họa, nhưng với những hạn chế của thiết kế monolithic, ngành công nghiệp đang dần chuyển hướng đến sử dụng MCM với sự gia tăng rõ rệt.
AMD là một trong những công ty có kinh nghiệm đáng kể với thiết kế multi-chiplet, ví dụ như sản phẩm Instinct MI200 AI accelerators của họ, là dòng đầu tiên áp dụng MCM với nhiều chiplet được xếp chồng trên một gói duy nhất, bao gồm các GPC (Graphics Processing Cores), bộ nhớ HBM và I/O die. Họ cũng là nhà tiên phong trong việc áp dụng giải pháp MCM trên kiến trúc RDNA 3 mới nhất với các sản phẩm như Navi 31. Bằng sáng chế mới này cho thấy AMD đang có ý định áp dụng triết lý này vào các kiến trúc RDNA phổ thông.

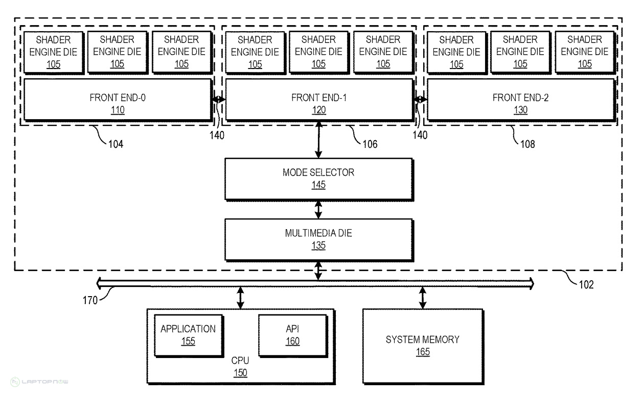
Bằng sáng chế mô tả ba "chế độ" sử dụng chiplet khác nhau, với sự khác biệt nằm ở cách phân bổ và quản lý tài nguyên. Mô hình đầu tiên là "chế độ GPU đơn", tương tự như cách hoạt động của GPU hiện đại, với tất cả các chiplet trên bo mạch hoạt động như một đơn vị xử lý thống nhất, chia sẻ tài nguyên trong một môi trường cộng tác.
Chế độ thứ hai là "chế độ độc lập", trong đó các chiplet hoạt động độc lập, chịu trách nhiệm cho các chức năng của chúng thông qua bo mạch front-end đặc biệt, lên lịch các nhiệm vụ cho các đơn vị xử lý shader kết nối của chúng. Chế độ thứ ba, được gọi là "chế độ lai", cho phép các chiplet hoạt động độc lập nhưng vẫn có thể tồn tại chung. Đây là một mô hình triển vọng, kết hợp lợi ích của cả hai phương pháp, mang lại tính mở rộng và tối ưu hóa tài nguyên hiệu quả.
Bằng sáng chế không tiết lộ chi tiết về cách AMD tiếp cận thiết kế MCM của họ, do đó không thể dự đoán liệu Team Red sẽ áp dụng các ý tưởng này hay không. Tuy nhiên, nói chung về multi-chiplet, mặc dù mang lại hiệu suất và khả năng mở rộng, sản xuất chúng là một nhiệm vụ phức tạp và yêu cầu các thiết bị và quy trình công nghệ cao, dẫn đến chi phí cao hơn. Bằng sáng chế miêu tả cách tiếp cận này:
"Chia GPU thành nhiều chiplet GPU khác nhau, hệ thống xử lý linh hoạt và hiệu quả về chi phí cấu hình số lượng tài nguyên GPU vật lý dựa trên chế độ hoạt động."

Hiện tại, AMD chưa có một giải pháp chip GPU đa GPU phù hợp cho thị trường tiêu dùng. Các GPU Navi 31 vẫn là thiết kế monolithic với một GCD duy nhất, tuy nhiên các MCD mang cache vô tận và điều khiển bộ nhớ đã được chuyển sang gói chiplet. Với các kiến trúc RDNA thế hệ tiếp theo, ta có thể mong đợi AMD sẽ sử dụng nhiều gói chiplet hơn với các GCD có khối độc lập riêng. Dự án một GPU như vậy đã được lên kế hoạch cho dòng sản phẩm RDNA 4 với mã Navi 4X/Navi 4C, mặc dù đã bị hủy bỏ theo thông tin đồn đoán, vì vậy có thể sẽ quay lại với các chip RDNA 5 trong tương lai.
Với các thiết bị High-NA và công nghệ tiên tiến ngày càng phát triển, việc áp dụng thiết kế MCM có thể sẽ gia tăng. Và với AMD đã thử nghiệm với multi-chiplet, điều này không phải là điều không thể nếu nói về việc các kiến trúc RDNA tương lai sẽ dịch chuyển khỏi thiết kế monolithic.
./.
M.P theo Wccftech
AMD tiết lộ một phương pháp độc đáo "Multi-Chiplet" cho các kiến trúc RDNA tương lai, bao gồm ba bo mạch riêng biệt